Back to Inductee Search

Charles Hull

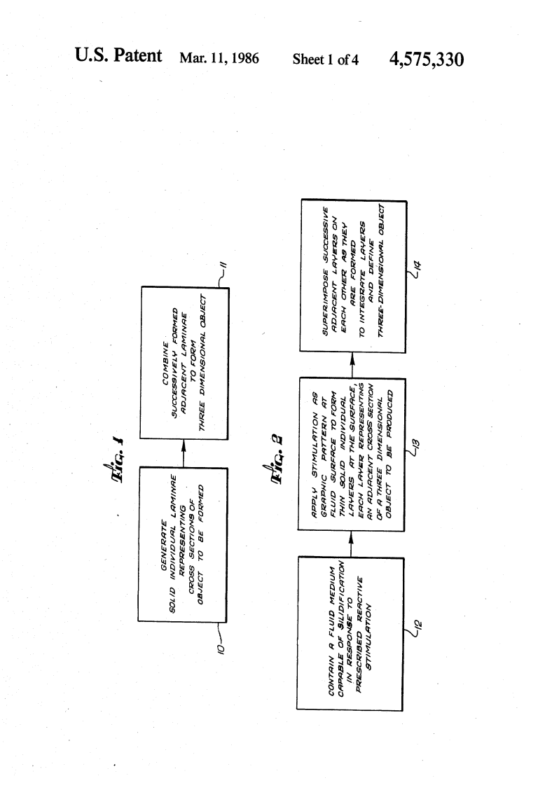
Stereolithography (3D Printing)

U.S. Patent No. 4,575,330
Inducted in 2014
Born May 12, 1939
"I didn’t think back then that I was spawning an industry. I was trying to solve a particular problem."

Charles Hull is the inventor of stereolithography, the first commercial rapid prototyping technology commonly known as 3D printing. The earliest applications were in research and development labs and tool rooms, but today 3D printing applications are seemingly endless. The technique has been used to create anything from sports shoes, aircraft components and artificial limbs to artwork, musical instruments and clothing.

Hull was developing lamps for UV-curable resins when he first came up with his idea for 3D printing. His method uses UV light to cure and bond a photopolymer resin that is built up layer by layer. In 1986, Hull co-founded 3D Systems to commercialize his technology, including the STL file format that allows CAD software data to be translated for 3D printers. Today, 3D Systems continues to innovate with a full line of professional and production 3D printers, advanced software solutions and a broad materials portfolio, as well as consumer-friendly desktop 3D printers for the growing hobby and entrepreneur markets.

Hull, who received his degree in engineering physics from the University of Colorado, is also the recipient of The Economist's Innovation Award for his pioneering role in 3D printing technology.

  • Open Video
  • Open Video
  • Open Image
    U.S. Patent No. 4,575,330
  • Open Image
    Chuck Hull stands next to a 3d printer
  • Open Image
    Chuck Hull and wife Anntoinette at the National Inventors Hall of Fame Illumination Ceremony
  • Open Image
    Chuck Hull and wife Anntoinette at the National Inventors Hall of Fame Illumination Ceremony
  • Open Image
    Chuck Hull at the National Inventors Hall of Fame Illumination Ceremony
  • Open Image
    Chuck Hull at the National Inventors Hall of Fame Induction Ceremony
  • Open Image
    Chuck Hull at the National Inventors Hall of Fame Induction Ceremony
  • Open Image
    Chuck Hull display at the National Inventors Hall of Fame Museum
  • Open Image
    Chuck Hull as a superhero

Related Inductees